vacuum interrupter
Embedded poles
vacuum interrupter for outdoor circuit breaker
vacuum interrupter for indoor circuit breaker
vacuum interrupter for load break switch
vacuum interrupter for contactor
Products >> Embedded poles
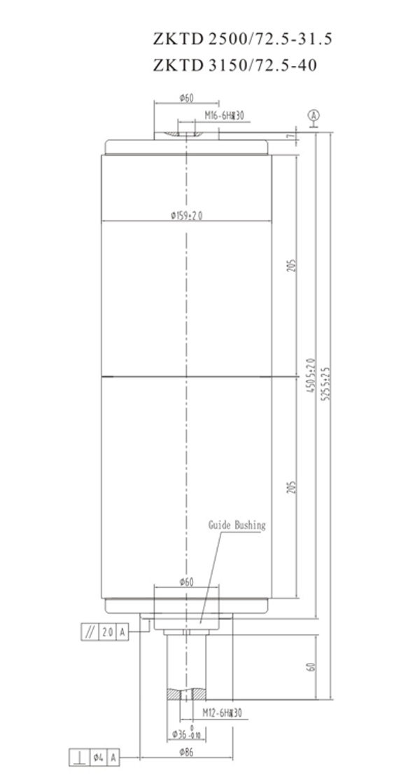
ZKTD2500/72.5-31.5 TD668A

Main Technical Data
Rated voltage                                             kv 72.5
Rated current                                             A 2500/3150
Rated frequency                                          Hz 50/60
Rated short-time power frequency withstand voltage(1min)     ☆ kv 140
Rated lighting impulse withstand voltage                ☆      kv 375
Rated short-time withstand current                          kA 31.5/40
Rated withstand current(peak)                     kA 80/125
Rated short-circuit making current  kA 31.5/40
Rated closed-loop breaking current A 630
Rated active load breaking current                 A 630
Rated cable charging breaking current                        A 10
Rated single capacitor bank breaking currentrrent                                A 400
Rated duration of short-circuit                               s 4
Mechanical life                                            times 10000
Contact closing force due to bellows and atmosphere           N 220±40
Counterforce at rated contact stroke                           N 330±50
Circuit resistance at rated contact force                       μΩ ≤20
Shelf life                                                   years 20
Contact erosion limit                                        mm 3
Weight of moving parts                                                                              kg ≤4.2
Mechanical Data Required For Matched Vacuum Switchgear                                           
Rated contact stroke                                       mm 38±2
Average opening speed                                    m/s 2.8±0.2
Average closing speed                                     m/s 1.6±0.2
Added contact force                                        N 4500±100
Contact bouncing duration at closing operation                 ms ≤5
Contact bouncing bank amplitude of opening operation          mm 2
Three-pole simultaneity                                      ms ≤2
Note:Rated characteristics can be given on requirment   ☆:dir air 0.5MPA
 
Webpage Copyright(c)2009 All rights reserved
Specifically stated: All the content of this website must be up to the intellectual property owned by feite for professional business accounting services to all, without permission, shall not be reproduced, extract, copy or create mirror ICP 10015061